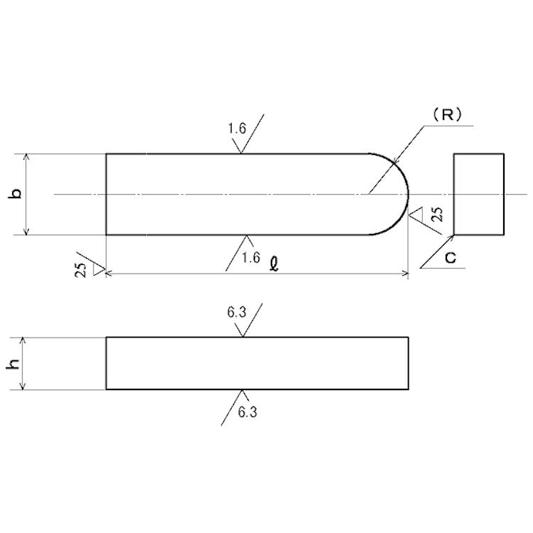
片丸キー(JIS(セイキSS製【50個】SUS316JISカタマルキー 10X8X32 SUS316/生地(または標準)

商品画像は白黒のため、実際の商品とは異なります。